Part Number Hot Search : 
QB0303XT ISL240 CPDU24V AN1246 NTA1212M 0Y1ED KO3419 AR371S34
Product Description
Full Text Search

IR3702N - General Purpose Quad Operational Amplifier

IR3702N_1841429.PDF Datasheet

 
Part No. IR3702N
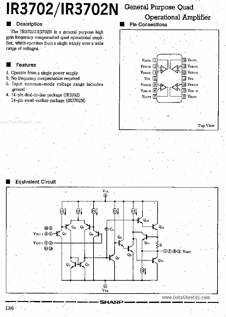
Description General Purpose Quad Operational Amplifier

File Size 152.66K  /  3 Page  

Maker

Sharp



JITONG TECHNOLOGY
(CHINA HK & SZ)
Datasheet.hk's Sponsor

Part: IR3702N
Maker: IR
Pack: SOP16
Stock: 402
Unit price for :
    50: $1.29
  100: $1.23
1000: $1.16

Email: oulindz@gmail.com

Contact us

Homepage
Download [ ]
[ IR3702N Datasheet PDF Downlaod from Datasheet.HK ]
[IR3702N Datasheet PDF Downlaod from Maxim4U.com ] :-)


[ View it Online ]   [ Search more for IR3702N ]

[ Price & Availability of IR3702N by FindChips.com ]

 Full text search : General Purpose Quad Operational Amplifier
 Product Description search : General Purpose Quad Operational Amplifier


 Related Part Number
PART Description Maker
P82-D-18C P82-D-8C P03-26 P03-20 P03-37 P03-23 P03 1 ELEMENT, 43000 uH, POWDERED IRON-CORE, GENERAL PURPOSE INDUCTOR
1 ELEMENT, 15000 uH, POWDERED IRON-CORE, GENERAL PURPOSE INDUCTOR
1 ELEMENT, 200000 uH, POWDERED IRON-CORE, GENERAL PURPOSE INDUCTOR
1 ELEMENT, 24000 uH, POWDERED IRON-CORE, GENERAL PURPOSE INDUCTOR
1 ELEMENT, 150000 uH, POWDERED IRON-CORE, GENERAL PURPOSE INDUCTOR
1 ELEMENT, 4300 uH, POWDERED IRON-CORE, GENERAL PURPOSE INDUCTOR
1 ELEMENT, 86000 uH, POWDERED IRON-CORE, GENERAL PURPOSE INDUCTOR
1 ELEMENT, 175000 uH, POWDERED IRON-CORE, GENERAL PURPOSE INDUCTOR
1 ELEMENT, 12500 uH, POWDERED IRON-CORE, GENERAL PURPOSE INDUCTOR
1 ELEMENT, 5000 uH, POWDERED IRON-CORE, GENERAL PURPOSE INDUCTOR
1 ELEMENT, 8000 uH, POWDERED IRON-CORE, GENERAL PURPOSE INDUCTOR
1 ELEMENT, 17500 uH, POWDERED IRON-CORE, GENERAL PURPOSE INDUCTOR
1 ELEMENT, 2400 uH, POWDERED IRON-CORE, GENERAL PURPOSE INDUCTOR
1 ELEMENT, 200 uH, POWDERED IRON-CORE, GENERAL PURPOSE INDUCTOR
1 ELEMENT, 300 uH, POWDERED IRON-CORE, GENERAL PURPOSE INDUCTOR
1 ELEMENT, 2500 uH, POWDERED IRON-CORE, GENERAL PURPOSE INDUCTOR
1 ELEMENT, 8600 uH, POWDERED IRON-CORE, GENERAL PURPOSE INDUCTOR
1 ELEMENT, 7500 uH, POWDERED IRON-CORE, GENERAL PURPOSE INDUCTOR
1 ELEMENT, 150 uH, POWDERED IRON-CORE, GENERAL PURPOSE INDUCTOR
1 ELEMENT, 30000 uH, POWDERED IRON-CORE, GENERAL PURPOSE INDUCTOR
1 ELEMENT, 7200 uH, POWDERED IRON-CORE, GENERAL PURPOSE INDUCTOR
1 ELEMENT, 10000 uH, POWDERED IRON-CORE, GENERAL PURPOSE INDUCTOR
1 ELEMENT, 50000 uH, POWDERED IRON-CORE, GENERAL PURPOSE INDUCTOR
1 ELEMENT, 100000 uH, POWDERED IRON-CORE, GENERAL PURPOSE INDUCTOR
1 ELEMENT, 2000 uH, POWDERED IRON-CORE, GENERAL PURPOSE INDUCTOR
1 ELEMENT, 3000 uH, POWDERED IRON-CORE, GENERAL PURPOSE INDUCTOR
1 ELEMENT, 6000 uH, POWDERED IRON-CORE, GENERAL PURPOSE INDUCTOR
1 ELEMENT, 40000 uH, POWDERED IRON-CORE, GENERAL PURPOSE INDUCTOR
1 ELEMENT, 600 uH, POWDERED IRON-CORE, GENERAL PURPOSE INDUCTOR
1 ELEMENT, 60 uH, POWDERED IRON-CORE, GENERAL PURPOSE INDUCTOR
1 ELEMENT, 4000 uH, POWDERED IRON-CORE, GENERAL PURPOSE INDUCTOR
1 ELEMENT, 12000 uH, POWDERED IRON-CORE, GENERAL PURPOSE INDUCTOR
ITT Interconnect Solutions
ISL28413FVZ-T13 ISL28213FBZ-T13 ISL28213FHZ-T7 ISL Quad General Purpose Micropower, RRIO Operational Amplifier; Temperature Range: Full-Range Industrial; Package: 14 Ld TSSOP T R QUAD OP-AMP, 6000 uV OFFSET-MAX, 2 MHz BAND WIDTH, PDSO14
Single, Dual, Quad General Purpose Micropower, RRIO Operational Amplifier
   Single, Dual, Quad General Purpose Micropower, RRIO Operational Amplifier
Intersil, Corp.
Intersil Corporation
U07-17 U07-24 U07-38 U07-19 PSC10-19 PSC10-D-11 PS 1 ELEMENT, 175000 uH, POWDERED IRON-CORE, GENERAL PURPOSE INDUCTOR
1 ELEMENT, 600000 uH, POWDERED IRON-CORE, GENERAL PURPOSE INDUCTOR
1 ELEMENT, 10000 uH, POWDERED IRON-CORE, GENERAL PURPOSE INDUCTOR
1 ELEMENT, 7200000 uH, POWDERED IRON-CORE, GENERAL PURPOSE INDUCTOR
1 ELEMENT, 240000 uH, POWDERED IRON-CORE, GENERAL PURPOSE INDUCTOR
1 ELEMENT, 120000 uH, POWDERED IRON-CORE, GENERAL PURPOSE INDUCTOR
1 ELEMENT, 430000 uH, POWDERED IRON-CORE, GENERAL PURPOSE INDUCTOR
1 ELEMENT, 50000 uH, POWDERED IRON-CORE, GENERAL PURPOSE INDUCTOR
1 ELEMENT, 5000 uH, POWDERED IRON-CORE, GENERAL PURPOSE INDUCTOR
1 ELEMENT, 5000000 uH, POWDERED IRON-CORE, GENERAL PURPOSE INDUCTOR
1 ELEMENT, 72000 uH, POWDERED IRON-CORE, GENERAL PURPOSE INDUCTOR
1 ELEMENT, 1500000 uH, POWDERED IRON-CORE, GENERAL PURPOSE INDUCTOR
1 ELEMENT, 7200 uH, POWDERED IRON-CORE, GENERAL PURPOSE INDUCTOR
1 ELEMENT, 36000 uH, POWDERED IRON-CORE, GENERAL PURPOSE INDUCTOR
1 ELEMENT, 1200000 uH, POWDERED IRON-CORE, GENERAL PURPOSE INDUCTOR
1 ELEMENT, 6000000 uH, POWDERED IRON-CORE, GENERAL PURPOSE INDUCTOR
1 ELEMENT, 1000000 uH, POWDERED IRON-CORE, GENERAL PURPOSE INDUCTOR
1 ELEMENT, 17500 uH, POWDERED IRON-CORE, GENERAL PURPOSE INDUCTOR
1 ELEMENT, 360000 uH, POWDERED IRON-CORE, GENERAL PURPOSE INDUCTOR
1 ELEMENT, 86000 uH, POWDERED IRON-CORE, GENERAL PURPOSE INDUCTOR

CR32 CR43 CR5D11 CR54-4R4MC CR54-3R3MC CR54-5R6MC 1 ELEMENT, 1 uH, GENERAL PURPOSE INDUCTOR, SMD
1 ELEMENT, 390 uH, GENERAL PURPOSE INDUCTOR, SMD
1 ELEMENT, 150 uH, GENERAL PURPOSE INDUCTOR, SMD
1 ELEMENT, 1.8 uH, GENERAL PURPOSE INDUCTOR, SMD
INDUCTOR POWER 15UH 1.30A SMD 1 ELEMENT, 15 uH, GENERAL PURPOSE INDUCTOR, SMD
INDUCTOR POWER 68UH 0.61A SMD 1 ELEMENT, 68 uH, GENERAL PURPOSE INDUCTOR, SMD
INDUCTOR POWER 2.7UH 3.44A SMD 1 ELEMENT, 2.7 uH, GENERAL PURPOSE INDUCTOR, SMD
INDUCTOR POWER 3.9UH 3.00A SMD 1 ELEMENT, 3.9 uH, GENERAL PURPOSE INDUCTOR, SMD
INDUCTOR POWER 5.6UH 2.48A SMD 1 ELEMENT, 5.6 uH, GENERAL PURPOSE INDUCTOR, SMD
INDUCTOR POWER 3.3UH 3.20A SMD 1 ELEMENT, 3.3 uH, GENERAL PURPOSE INDUCTOR, SMD
INDUCTOR POWER 4.4UH 2.80A SMD 1 ELEMENT, 4.4 uH, GENERAL PURPOSE INDUCTOR, SMD
XCCCPOWER INDUCTORS
XCCCPOWER INDUCTORS Type
1 ELEMENT, 180 uH, GENERAL PURPOSE INDUCTOR, SMD
Sumida, Corp.
SUMIDA CORPORATION.
SUMIDA[Sumida Corporation]
CMD6NNP-330K CMD6NNP-270K CMD6NNP-220K CMD6NNP-680 General Power Transformer
1 ELEMENT, 470 uH, GENERAL PURPOSE INDUCTOR, SMD ROHS COMPLIANT
1 ELEMENT, 100 uH, GENERAL PURPOSE INDUCTOR, SMD ROHS COMPLIANT
1 ELEMENT, 47 uH, GENERAL PURPOSE INDUCTOR, SMD ROHS COMPLIANT
1 ELEMENT, 120 uH, GENERAL PURPOSE INDUCTOR, SMD ROHS COMPLIANT
1 ELEMENT, 390 uH, GENERAL PURPOSE INDUCTOR, SMD ROHS COMPLIANT
1 ELEMENT, 270 uH, GENERAL PURPOSE INDUCTOR, SMD ROHS COMPLIANT
1 ELEMENT, 560 uH, GENERAL PURPOSE INDUCTOR, SMD ROHS COMPLIANT
1 ELEMENT, 220 uH, GENERAL PURPOSE INDUCTOR, SMD ROHS COMPLIANT
1 ELEMENT, 27 uH, GENERAL PURPOSE INDUCTOR, SMD ROHS COMPLIANT
1 ELEMENT, 150 uH, GENERAL PURPOSE INDUCTOR, SMD ROHS COMPLIANT
1 ELEMENT, 330 uH, GENERAL PURPOSE INDUCTOR, SMD ROHS COMPLIANT
1 ELEMENT, 56 uH, GENERAL PURPOSE INDUCTOR, SMD ROHS COMPLIANT
1 ELEMENT, 180 uH, GENERAL PURPOSE INDUCTOR, SMD ROHS COMPLIANT
1 ELEMENT, 1000 uH, GENERAL PURPOSE INDUCTOR, SMD ROHS COMPLIANT
1 ELEMENT, 39 uH, GENERAL PURPOSE INDUCTOR, SMD ROHS COMPLIANT
1 ELEMENT, 680 uH, GENERAL PURPOSE INDUCTOR, SMD ROHS COMPLIANT
1 ELEMENT, 68 uH, GENERAL PURPOSE INDUCTOR, SMD ROHS COMPLIANT
Sumida Corporation
Sumida, Corp.
9250A-184-RC 9250A-107-RC 9250A-331-RC 9250A-333-R CHOKE RF MOLDED 180UH FERRITE 1 ELEMENT, 180 uH, FERRITE-CORE, GENERAL PURPOSE INDUCTOR
CHOKE RF MOLDED 100000UH FERRITE 1 ELEMENT, 100000 uH, FERRITE-CORE, GENERAL PURPOSE INDUCTOR
CHOKE RF MOLDED .33UH PHENOLIC 1 ELEMENT, 0.33 uH, FERRITE-CORE, GENERAL PURPOSE INDUCTOR
CHOKE RF MOLDED 33UH FERRITE 1 ELEMENT, 33 uH, FERRITE-CORE, GENERAL PURPOSE INDUCTOR
CHOKE RF MOLDED 1.5UH IRON 1 ELEMENT, 1.5 uH, FERRITE-CORE, GENERAL PURPOSE INDUCTOR
Choke, Axial Molded 1 ELEMENT, 39000 uH, FERRITE-CORE, GENERAL PURPOSE INDUCTOR
Choke, Axial Molded 1 ELEMENT, 0.68 uH, FERRITE-CORE, GENERAL PURPOSE INDUCTOR
CHOKE RF MOLDED 3300UH FERRITE 1 ELEMENT, 3300 uH, FERRITE-CORE, GENERAL PURPOSE INDUCTOR
Choke, Axial Molded 1 ELEMENT, 470 uH, FERRITE-CORE, GENERAL PURPOSE INDUCTOR
CHOKE RF MOLDED 150UH FERRITE 1 ELEMENT, 150 uH, FERRITE-CORE, GENERAL PURPOSE INDUCTOR
CHOKE RF MOLDED 8200UH FERRITE 1 ELEMENT, 8200 uH, FERRITE-CORE, GENERAL PURPOSE INDUCTOR
CHOKE RF MOLDED 6800UH FERRITE 1 ELEMENT, 6800 uH, FERRITE-CORE, GENERAL PURPOSE INDUCTOR
CHOKE RF MOLDED 82UH FERRITE 1 ELEMENT, 82 uH, FERRITE-CORE, GENERAL PURPOSE INDUCTOR
CHOKE RF MOLDED 22000UH FERRITE 1 ELEMENT, 22000 uH, FERRITE-CORE, GENERAL PURPOSE INDUCTOR
CHOKE RF MOLDED .15UH PHENOLLIC 1 ELEMENT, 0.15 uH, FERRITE-CORE, GENERAL PURPOSE INDUCTOR
1 ELEMENT, 390 uH, FERRITE-CORE, GENERAL PURPOSE INDUCTOR
1 ELEMENT, 0.47 uH, FERRITE-CORE, GENERAL PURPOSE INDUCTOR
CHOKE RF MOLDED 33000UH FERRITE
CHOKE RF MOLDED 1000UH FERRITE
Bourns, Inc.
BOURNS INC
LMX358 LMX358AKA-T LMX358ASA LMX358AUA LMX321 LMX3 Single/Dual/Quad, General-Purpose, Low-Voltage, Rail-to-Rail Output Op Amps DUAL OP-AMP, 6000 uV OFFSET-MAX, 1.3 MHz BAND WIDTH, PDSO8
Single/Dual/Quad / General-Purpose / Low-Voltage / Rail-to-Rail Output Op Amps
Single/Dual/Quad/ General-Purpose/ Low-Voltage/ Rail-to-Rail Output Op Amps
MAXIM INTEGRATED PRODUCTS INC
Maxim Integrated Products, Inc.
MAXIM[Maxim Integrated Products]
MAXIM - Dallas Semiconductor
http://
CTC2F-R033M CTC2F-121J CTC2F-120K CTC2F-R047M CTC2 1 ELEMENT, 0.033 uH, GENERAL PURPOSE INDUCTOR
1 ELEMENT, 120 uH, GENERAL PURPOSE INDUCTOR
1 ELEMENT, 12 uH, GENERAL PURPOSE INDUCTOR
1 ELEMENT, 0.047 uH, GENERAL PURPOSE INDUCTOR
1 ELEMENT, 22 uH, GENERAL PURPOSE INDUCTOR
1 ELEMENT, 0.082 uH, GENERAL PURPOSE INDUCTOR
1 ELEMENT, 0.068 uH, GENERAL PURPOSE INDUCTOR
1 ELEMENT, 220 uH, GENERAL PURPOSE INDUCTOR
1 ELEMENT, 560 uH, GENERAL PURPOSE INDUCTOR
CENTRAL TECHNOLOGIES
550-8640 550-8640-05-02-00 550-8640-54-02-00 550-8 1 ELEMENT, 0.1 uH, GENERAL PURPOSE INDUCTOR
1 ELEMENT, 10000 uH, GENERAL PURPOSE INDUCTOR
R F Choke, epoxy dipped, axial
1 ELEMENT, 0.22 uH, GENERAL PURPOSE INDUCTOR
1 ELEMENT, 2700 uH, GENERAL PURPOSE INDUCTOR
1 ELEMENT, 12 uH, GENERAL PURPOSE INDUCTOR
1 ELEMENT, 220 uH, GENERAL PURPOSE INDUCTOR
1 ELEMENT, 4.7 uH, GENERAL PURPOSE INDUCTOR
CAMBION Electronic Components
WEARNES CAMBION LTD
AMPC20-5R6K-RC AMPC20-561K-RC AMPC20-560K-RC AMPC2 1 ELEMENT, 12000 uH, GENERAL PURPOSE INDUCTOR
1 ELEMENT, 12 uH, GENERAL PURPOSE INDUCTOR
1 ELEMENT, 1000 uH, GENERAL PURPOSE INDUCTOR
1 ELEMENT, 4700 uH, GENERAL PURPOSE INDUCTOR
1 ELEMENT, 15000 uH, GENERAL PURPOSE INDUCTOR
1 ELEMENT, 4.7 uH, GENERAL PURPOSE INDUCTOR AXIAL LEADED, ROHS COMPLIANT
   Axial Molded Power Chokes
Allied Components International
Allied Components Inter...
SFOP7850-2R3100 SFOP7850-R78820 SFOP7850-1R8150 SF 1 ELEMENT, 10 uH, GENERAL PURPOSE INDUCTOR, SMD
1 ELEMENT, 82 uH, GENERAL PURPOSE INDUCTOR, SMD
1 ELEMENT, 15 uH, GENERAL PURPOSE INDUCTOR, SMD
1 ELEMENT, 4.7 uH, GENERAL PURPOSE INDUCTOR, SMD
1 ELEMENT, 39 uH, GENERAL PURPOSE INDUCTOR, SMD
1 ELEMENT, 100 uH, GENERAL PURPOSE INDUCTOR, SMD
1 ELEMENT, 22 uH, GENERAL PURPOSE INDUCTOR, SMD
1 ELEMENT, 220 uH, GENERAL PURPOSE INDUCTOR, SMD
1 ELEMENT, 470 uH, GENERAL PURPOSE INDUCTOR, SMD
1 ELEMENT, 330 uH, GENERAL PURPOSE INDUCTOR, SMD
1 ELEMENT, 33 uH, GENERAL PURPOSE INDUCTOR, SMD
1 ELEMENT, 390 uH, GENERAL PURPOSE INDUCTOR, SMD
1 ELEMENT, 47 uH, GENERAL PURPOSE INDUCTOR, SMD
1 ELEMENT, 56 uH, GENERAL PURPOSE INDUCTOR, SMD
1 ELEMENT, 150 uH, GENERAL PURPOSE INDUCTOR, SMD
1 ELEMENT, 68 uH, GENERAL PURPOSE INDUCTOR, SMD
1 ELEMENT, 27 uH, GENERAL PURPOSE INDUCTOR, SMD
Samwha Electronics
SAMWHA CAPACITOR GROUP
 
 Related keyword From Full Text Search System
IR3702N sonardyne IR3702N applications IR3702N Band IR3702N Converter IR3702N reference
IR3702N stmicroelectronics IR3702N surface IR3702N pci endian mode IR3702N Ic on line IR3702N Dual
 

 

Price & Availability of IR3702N

All Rights Reserved © IC-ON-LINE 2003 - 2022  

[Add Bookmark] [Contact Us] [Link exchange] [Privacy policy]
Mirror Sites :  [www.datasheet.hk]   [www.maxim4u.com]  [www.ic-on-line.cn] [www.ic-on-line.com] [www.ic-on-line.net] [www.alldatasheet.com.cn] [www.gdcy.com]  [www.gdcy.net]


 . . . . .
  We use cookies to deliver the best possible web experience and assist with our advertising efforts. By continuing to use this site, you consent to the use of cookies. For more information on cookies, please take a look at our Privacy Policy. X
0.28661012649536